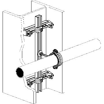
MPC-feszítőelem

MPC-feszítő tartó 27/18-28/30 profilhoz, horganyzott

Tételszám.: 130286
Mennyiségi egység: 20 darab
Tömeg/ME: 0,094 kg
darab

Felhasználás

  • Rögzítőelem MPC rendszersín szakaszok rögzítésére, acélprofilok karimái között

Előnyök

  • Csővezetékek és villamos szerelvények rögzítéséhez acélszerkezeteken
  • A rögzítés fúrás és hegesztés nélkül is elvégezhető
  • Szilárdan tart, mivel mindkét oldalon három támadási pontja van
  • A szerelés közben rugós gyűrű védi a kiesés ellen
  • A csővezetéket egyszerűen kalapácsfejű csavarokkal lehet rögzíteni
  • A sín helyszíni méretre vágásával az összes járatos méretű tartóhoz illeszthető
Rövid leírás
MPC-feszítő tartó 27/18-28/30 profilhoz, horganyzott
Sínrendszerek
MPC-profilokhoz
Terméktípus
Sínrendszerek tartozékai
Profilokhoz
27/18, 28/30
Tartókarima méret Tw
90-350 mm
Anyag
Acél
Felület
horganyzott
eCl@ss 7.1
23-15-92-90
eCl@ss 11.1
23-36-01-91
Max. ajánlott terhelés
850 N
Sínszakasz L szabott hossza
L = Tw - 25 mm
Vámtarifaszám
73269060
További műszaki részletek az adatlapon találhatók.